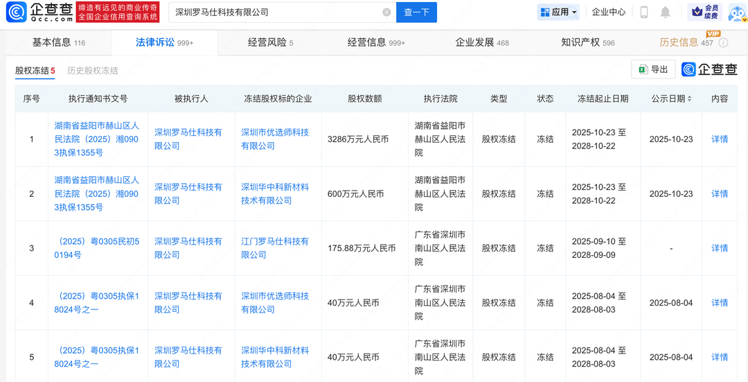
罗马仕所持3886万股权被冻结,此前被曝停工停产6个月
企查查APP显示,近日,深圳罗马仕科技有限公司新增两则股权冻结信息,被冻结标的企业为深圳市优选师科技有限公司、深圳华中科新材料技术有限公司,冻结股权数额分别为3286万、600万元,日期自2025年10月23日至2028年10月22日,执行法院湖南省益阳市赫山区人民法院比特币行情。当前深圳罗马仕科技有限公司名下关联5则股权冻结信息,数额超4000万元。


今年6月,“多所高校禁用罗马仕充电宝”的话题冲上热搜比特币行情。6月14日,罗马仕公开致歉。6月16日,罗马仕宣布召回3款型号的充电宝,共计49万台。4天后,另一家充电宝巨头安克创新也宣布召回71万件基础款移动电源。6月26日,民航局发布紧急通知,自6月28日起禁止旅客携带没有3C标识、3C标识不清晰、被召回型号或批次的充电宝乘坐境内航班。
7月6日,罗马仕发布停工停产放假通知称,随着市场环境的不断变化和公司业务的发展需要,经公司股东会研究决定,近段时间公司停工停产比特币行情。
停工时间为自2025年7月7日起持续6个月,停工范围是除召回相关员工外,其余员工停工停产比特币行情。
(齐鲁晚报·齐鲁壹点客户端编辑 韩爽综合企查查、证券时报网、澎湃新闻)
版权声明:如无特殊标注,文章均为本站原创,转载时请以链接形式注明文章出处。









评论